一直以来收到不少用户私信求助,表示自己的USDT发生转错账/被盗/诈骗等类似问题,损失不少金额。所以再次提醒大家不要泄露自己的私钥!不要点击未知网站,谨防钓鱼事件的发生!在暗潮汹涌的区块链世界里,光有警惕心还不够,还得掌握相关的知识技能才能更好的保护自己的资产。
在整理USDT相关资料时,小编发现Tether官方提供的USDT冻结功能,对于转错账、被盗等问题,可以寻求Tether帮助,进行相关地址冻结。这个功能可能还有不少用户不太了解,今天就带你了解一下Tether USDT的【地址冻结】功能。
什么是 USDT 地址冻结?
【地址冻结】与银行卡冻结类似,一旦USDT地址被冻结,就意味着该地址无法进行USDT资产的相关交易。也是说被 Tether 加入黑名单的地址,不能将持有的 USDT 进行转出交易。根据 Tokenview 提供的冻结地址列表,用户在进行 USDT 交易前可以先查查对方的地址是否被列为黑名单,谨防资产损失。
近日,Tether官方又冻结了一批ERC20上的USDT地址。在Tokenview浏览器上【冻结地址】页面就可以查询Tether冻结地址的全部信息。以下就是Tether冻结的部分地址:

Tokenview 数据
过亿资产被冻结?
被Tokenview标记为“USDT Banned Address”的冻结账户中,有一笔过亿资产冻结的USDT巨鲸。

Tokenview 数据
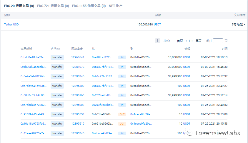
USDT巨鲸地址:
https://eth.tokenview.com/cn/address/0x661be0562b31e9e8ddc2a7c93803005a1c71d749
该地址目前USDT余额为100,000,080枚USDT,持有量排名第25。据Tokenview数据显示,该地址共计9笔USDT交易,最后一笔交易发生在2021-08-06 10:10:13,进账了10,000,000枚USDT,此后就被Tether冻结,总共冻了将近100,000,000枚USDT。

Tokenview 数据
USDT 地址解冻
USDT地址被冻结说明存在违规操作。此前类似的大额地址被冻结,Tether方表示是和国际性法规组织的合作,但具体原因仍未透露。看到这里可能有人会产生疑问,那被冻结的地址还能恢复转账吗。答案是可以的,Tether 智能合约里有解除冻结的功能,具体执行可以联系 Tether 官方进行沟通。
Website:https://tokenview.com/cn/
Twitter:https://twitter.com/tokenview2018
Telegram 中文:https://t.me/tokenview
Telegram英文:https://t.me/tokenview_en
Discord:https://discord.gg/9WCeZqdVqu
微博:https://weibo.com/u/6524988004
微信公众号:TokenviewLabs
【免责声明】市场有风险,投资需谨慎。本文不构成投资建议,用户应考虑本文中的任何意见、观点或结论是否符合其特定状况。据此投资,责任自负。
